在目前全球经济存在风险的背景下,多只基金采取了暂停大额申购的措施。根据Wind数据统计显示,为了保护基金份额持有人利益,4月以来共有67只基金(不同份额合并计算)暂停了大额申购。

其中,许多权益型基金似乎提前觉察到危险,在2月末3月初暂停了大额申购,从而避免了新进投资者产生大幅亏损。其中,交银内核驱动基金自2月24日起将单笔申购金额限制到了1万元,而后净值累计下跌5.70%(截止至4月13日);银河和美生活基金2月25日起暂停大额申购,而后净值累计回撤21.58%(截止至4月13日)。

60余只基金暂停大额申购

根据Wind数据统计显示,4月共有67只基金(不同份额合并计算)暂停了大额申购。而这些基金暂停大额申购的理由主要为“保护基金份额持有人利益”。

业内人士表示,暂停大额申购主要是为了保护基金份额持有人利益,因为一旦有资金快速涌入该基金产品,原有基金持有人的收益便可能被快速摊薄。同时,限制大额申购也能一定程度上避免投资者在快速上涨的过程中,受情绪带动而进行追涨杀跌的行为。

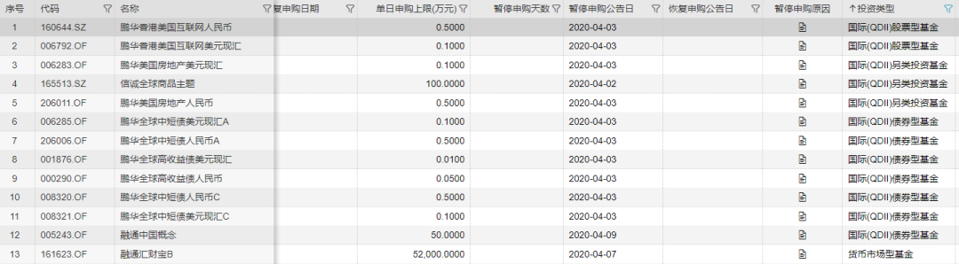
在暂停大额申购后,各基金目前的单日申购上限也不尽相同。依据数据来看,货币基金的单日申购上限普遍较高,而QDII基金的单日申购上限则非常低。其中,融通汇财宝单日申购上限最高,为5.2亿元;鹏华全球高收益债债券型基金人民币份额单日申购上限最低,为500元。

4月3日,鹏华基金发布公告称,为保护基金份额持有人利益,鹏华全球高收益债债券型证券投资基金人民币份额在所有销售机构及直销网点自2020年4月7日起,单日单个基金账户累计的申购、定期定额投资金额限额由人民币100万元调整为500元,如某笔申请将导致单日单个基金账户累计申购、定期定额投资本基金人民币份额的金额超过人民币500元(不含500元),本基金管理人将有权拒绝该笔申请。该基金的美元现汇份额的投资金额则限制为100美元。

券商中国记者留意到,自3月份外围市场暴跌后,投资者抄底意愿强烈,直接导致多家基金公司的外汇额度告罄,多只QDII基金已限制大额申购交易甚至全面暂停申购。

在暂停大额申购的119只基金中,有19只产品披露了暂停大额申购的天数以及恢复大额申购的日期。其中,大部分产品暂停大额申购的持续时间较短,在3-10天不等,而中加瑞享纯债则选择暂停大额申购160天。

4月4日,中加基金发布公告称,为保护基金份额持有人利益,自4月7日起暂停接受单个基金账户对中加瑞享纯债债券单日累计金额1000万元以上(不含1000万元)的申购(含转换转入)申请。2020年9月14日起将恢复中加瑞享纯债债券的大额申购(含转换转入)业务。

多只基金准确“预警”

在新冠疫情演变成全球风险的背景下,许多权益型基金暂停大额申购主要是出于避险的考虑。

2月24日,美股大幅跳空低开,自此之后便开启了一轮全球性的暴跌。至今,道琼斯指数已累计跌去19.32%。

而在2月24日,交银施罗德基金旗下的两只偏股主动型基金——交银内核驱动与交银经济新动力经济,均发布公告宣布暂停大额申购。

交银内核驱动基金成立于2020年1月13日,基金经理为杨浩,募集当日60亿规模上限全部售罄,银行渠道信息显示,该基金当天募集资金超过500亿元,是今年初的一只爆款基金。

在其宣布暂停大额申购前夕,基金净值仍处在飙升途中,基民认购热情高涨。

但管理人与基金经理似乎提前捕捉到了危险气息,自2月24日起,将单笔申购金额限制到了1万元。而后,基金在2月25日达到1.0641后见顶,并开始下跌。截至4月13日,自暂停大额申购以来,净值累计下跌5.70%,为0.9931。

根据Wind数据统计,在2月末3月初,还有许多主动偏股型基金选择了暂停大额申购,而这些基金在3月至今均发生一定回撤。

其中,银河和美生活基金2月25日起暂停大额申购,而后至今净值累计回撤21.58%;富国周期优势基金3月9日起暂停大额申购,而后至今净值累计回撤3.26%。

基金经理知行合一

在这些“准确预警”的基金中,大部分已公布了2019年年度报告。而基金经理在年报中所陈述的观点也与其操作不谋而合。

“需要警惕的是2019年大幅上涨后的板块有一定估值泡沫,存在调整压力。”在富国周期优势基金的2019年年报中,基金经理刘博表示,A股市场近几年外资持续流入,投资者结构变化让A股估值结构也出现了变化。纵向比较,A股当前总体估值不贵。横向比较,由于美股估值较高,当前A股仍显得不贵。相对而言,港股市场比A股估值更接近历史底部,有获得更高收益的潜力。在公司选择上,仍然执着于持有具有良好商业模式、优秀管理能力的公司,参考当时的预期、估值决策个股仓位。行业板块均衡配置,中性化市场风格风险。

兴全精选基金在2月27日暂停了大额申购,2019年年报中,基金经理陈宇表示,展望2020年,经济的下行风险已经有比较充分的预期,由于全社会的库存在低位,产能扩张已经停滞了接近3年,传统产业有内生企稳、逐渐反弹的可能性。科技产业仍在导入渗透期,有技术优势或市场先机的企业可能获得较快增长。年初的新冠病毒疫情可能使得货币和财政托底政策前置。海外的事件冲击边际影响或将减弱。在政治、经济、金融状态平稳的前提下,资本市场的结构性机会仍是可以挖掘的。本基金仍将秉承“严控下行风险”的优良传统,灵活配置资产,挑选价值类型的个股,尽量追求长期收益。

推荐内容